Principală Balamale pentru uși Balama ascunsa WALA Aluprof WU1R00005 negru
2 619.81 lei
LIVRARE RAPIDĂ până la 48 ore
BALAMA ASCUNSĂ WU-1R
SARCINA MAXIMĂ ADMISĂ: 120 kg
POSIBILITATEA DE UTILIZARE ÎN UȘI REZISTENTE LA FOC: nu
ALTE CARACTERISTICI:
WU-1R – SE DEOSEBEȘTE PRINTR-UN PROCES FOARTE SIMPLU ȘI RAPID DE ASAMBLARE A CANATULUI DE UȘĂ CU TOC
Așa cum reiese din denumire, balamalele ascunse sunt invizibile, desigur, la prima vedere. Ele au o construcție complet diferită față de balamalele standard aplicate sau cu role.
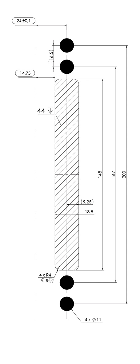
Instalarea balamalelor ascunse necesită prelucrare specială atât a tocului, cât și a canatului. Însă pentru aceasta există șabloane speciale care marchează exact zonele ce trebuie prelucrate. Balamalele sunt montate în așa-numitul canal al ușii (în interiorul tocului și al canatului). Acest lucru creează un efect de suprafață uniformă și netedă. Atunci când ușa este închisă, balamalele nu sunt vizibile nici din interior, nici din exterior. Le putem vedea doar când deschidem canatul ușii.
Sistemele utilizate în balamalele ascunse sunt fiabile și durabile, nu necesită întreținere și nici ungere. Ele își îndeplinesc funcția cu ușurință timp de mulți ani. Reglarea lină în 3 planuri contribuie clar la o poziționare perfectă a canatului față de toc.
Balamalele au un unghi de deschidere de 110°, de aceea este necesară utilizarea unui opritor de ușă, de exemplu, modelul WST03 de la WALA, pentru a preveni deteriorarea mecanică a balamalelor.



Este obligatorie utilizarea unui limitator de deschidere, de exemplu, opritorul WALA WST.

(*) – reglajul negativ poate fi foarte limitat, în funcție de sistemul de aluminiu.
(**) – intervalul real de reglaj pe una dintre direcții poate fi mai mic, în funcție de sistemul de aluminiu și de limitările acestuia.


Prelucrarea tocului ușii Prelucrarea canatului ușii